Заземление и зануление – обеспечения безопасности людей, работающих с электроустановками и сетями, пользующихся бытовыми или промышленными приборами, работающими от электричества. Любая авария таких устройств, связанная с нарушением изоляции, грозит попаданием опасного напряжения на оголенные токопроводящие части корпуса.
Эффективная защита возможна при четком понимании физического смысла и сути «земли» и «ноля», правильном использовании их на практике.


Термины, определения
Чтобы исключить разную трактовку понятий «ноль» и «земля», нужно обратиться к установленным нормам и принятым стандартам. Проектирование, монтаж и эксплуатация отражены в основном руководящем документе энергетика – Правилах Устройства Электроустановок (ПУЭ). Глава 1.7 первого раздела содержит полные сведения о заземлителях, заземляющих защитных проводниках, системах и схемах. Раздел 3 описывает схемы защиты и автоматики. Седьмой раздел указывает как оборудуются сети, в том числе в общественных и жилых помещениях.
Защита заключается в создании физического соединения токопроводящих частей корпуса оборудования, которые при повреждении изоляции могут оказаться под опасным напряжением, с различными точками сети:
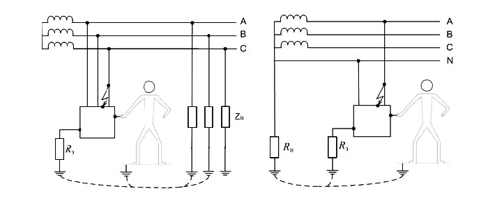
- Зануление – соединение провода с нейтралью. При аварии фаза замыкается на ноль, вызывая срабатывание защитного автомата или предохранителя. В нулевом проводнике под нагрузкой протекает ток, равный фазному. Изоляция такого провода синяя.
- Защитное заземление – подключение на контур заземлителя, уводящее опасное напряжение с корпуса на землю. В заземляющем проводе ток протекает только при аварии. Он окрашен в желто-зеленую полоску.
Оба подключения обеспечивают защиту. Но реализуют ее разными способами, в зависимости от места подключения.
Способы подачи электроэнергии
Электроустановки до 1000 вольт разделены на системы, в которых нейтраль источника энергии бывает:
- глухозаземленная, когда нулевой провод сознательно подсоединен к заземлителю;
- изолированная от земли.
Непромышленный потребитель обычно запитан по двухпроводной схеме используя два проводника – фазный и нулевой. По такой схеме питались все потребители электроэнергии раньше, а сейчас она допустима только для новых строений, которым электричество подается по воздушной линии.
Современные требования ПУЭ диктуют условия подачи электричества, используя:
- 3 провода – фаза (L), ноль (N), защитный (PE) от заземлителя для однофазной сети;
- 5 проводов – три фазы (L1-L3), N, PE для трехфазного питания.
Примером может послужить подключение жилого многоквартирного дома к трансформаторной подстанции. Оно выполнено кабелем с пятью жилами. Внутри здания три фазы через групповые распределительные устройства раздаются тремя проводами однофазным потребителям, равномерно распределяя нагрузку. Это легко выполнить на новом строительстве, но в существующих домах проводка уже есть. Всю ее переделать немедленно под новые требования, с постройкой заземлителей, невозможно.
Используемые способы организации защиты
Продается и эксплуатируется много бытовых приборов с трехпроводными шнурами и розетками, заземление корпусов которых обязательно. Особенности построения используемых стандартных систем питания помогут решить эту проблему, если невозможно построить отдельный контур заземления у потребителя.
В многоэтажные здания старой постройки электроэнергия подается по схеме TN-C-S, когда на трансформаторе нейтраль глухо заземлена, двумя проводами. Подается на щиток или шкаф проводником PEN, распределяясь дальше по группам и потребителям вместе с фазой L.
Если нужно включить, например, водяной электрический бойлер, нужно обязательно обеспечить защиту. При пробое изоляции нагревателя возникнет утечка на корпус, внутри которого вода. Водопроводная сеть окажется под напряжением. Чтобы предотвратить это, требуется заменить розетку на трехконтактную, соответствующую вилке. От нее вывести в подъезд дома на распределительный щиток дополнительный защитный провод желто-зеленой раскраски. Он под болт соединяется с корпусом щитка, а в квартире подключается на земляной контакт розетки.
Категорически запрещается объединять нулевой и корпусной контакты непосредственно в розетке.





